
![]()
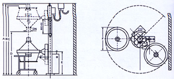
本机是为满足GMP技术规范而设计的提升,卸料装置。
应用于和FL、PGL等一步制粒机,GFG、FG等沸腾干燥机配套,从而实现无尘装、卸料操作。
![]()
采用液压控制,安全可靠
可与流化床料斗紧密配合,达到封闭操作
GMP规范设计、制作
| 机型 | YS 60 | YS 120 | YS 200 | YS 300 | YS 500 | |
| 标准负荷 | kg | 150 | 250 | 350 | 500 | 750 |
| 容器重量 | kg | 85 | 120 | 160 | 220 | 250 |
| 电机功率 | kw | 1.1 | 1.1 | 2.2 | 3.0 | 3.0 |
| 提升速度 | m/min | 0-4 | 0-4 | 0-4 | 0-3.5 | 0-3 |
| A | mm | 4000 | 4000 | 4000 | 4000 | 4000 |
| B | mm | 3900 | 3900 | 3900 | 3900 | 3900 |
| C | mm | 3700 | 3700 | 3700 | 3700 | 3700 |
| D | mm | 2200 | 2200 | 2200 | 2200 | 2200 |
| E | mm | 1400 | 1400 | 1600 | 1700 | 1800 |
| F | mm | 1095 | 1290 | 1495 | 1690 | 1890 |